全球市場及礦產資源豐富區
普通會員
產品價格¥9999.00元/臺
產品品牌鉑思特機械
最小起訂≥1 臺
供貨總量10 臺
發貨期限自買家付款之日起 3 天內發貨
瀏覽次數71
企業旺鋪http://www.best123.qb2b.com/
更新日期2022-09-20 12:56
品牌: |
鉑思特機械 |
所在地: |
河南 鄭州市 |
起訂: |
≥1 臺 |
供貨總量: |
10 臺 |
有效期至: |
長期有效 |
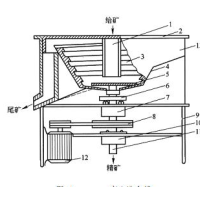
鞏義鉑思特錫礦石的選礦工藝,錫礦選礦細篩設備,錫尾礦回收錫
錫在地殼的密度相當低(僅為1.7ppm),且選、冶較難。自然界中的錫資源,主要呈錫石(SnO_2)賦存于巖漿期礦床和沖積礦床(砂錫礦)中。砂錫礦易于通過選礦作業得到品位較高的精礦;而脈錫礦一般難于選別,通過常規的選礦方法富集,往往只能得到低品位精礦、難選中礦以及難處理的多金屬礦。
錫礦石的選礦方法主要取決于其本身的特性,目前世界上生產的錫精礦絕大多數產自錫石礦床,而錫石的密度比共生礦物大,因此錫礦石的傳統選礦工藝為重力選礦。如錫礦石中的錫石嵌布粒度很細,可以采用浮選工藝進行分選。此外,由于錫礦物中往往有各種氧化鐵礦物存在,如磁鐵礦、赤鐵礦和褐鐵礦等,這些礦物用浮選和重選均不能很好的與錫石分離,所以,近年來在錫礦選礦流程中出現了磁選作業。這種磁選作業是以錫鐵分離為主要目的,可以與重選或浮選聯合選別錫礦。
總之,錫礦的選礦方法已經突破傳統的單一重選工藝而步入幾種選礦方法聯合使用的新時期,盡管如此,重選仍是錫礦選礦的主要方法。
砂錫礦的選礦與砂金礦選礦類似,均通過重選的方法粗選,粗選前需要經過振動篩篩分,拋除大量的廢石,粗選設備大多采用回收率高,處理能力大,入選粒級寬的跳汰機。跳汰機獲得的粗精礦可再次磨礦打破連生體狀態,再利用搖床精選獲得z終精礦,跳汰機尾礦作為砂石骨料。不過大多數情況下很多砂錫礦本身就是單體解離的,因此就不需要再破碎,經過篩分之后可以直接進入跳汰機,就可以將里面的錫回收出來。
河南鉑思特機械制造有限公司專業生產錫礦選礦設備。錫礦重力設備-跳汰機,設備型號齊全,有7大系列,十余種型號跳汰機供大家選擇,可滿足客戶不同類別的需要。歡迎廣新老客戶到我廠考察參觀。
本網頁所展示的有關【鞏義鉑思特錫礦石的選礦工藝,錫礦選礦細篩設備,錫尾礦回收錫_礦業設備_鞏義市鉑思特機械制造有限公司】的信息/圖片/參數等由B2B商機網|嬌嬌科技-免費b2b網站-免費的供求信息發布平臺的會員【鞏義市鉑思特機械制造有限公司】提供,由B2B商機網|嬌嬌科技-免費b2b網站-免費的供求信息發布平臺會員【鞏義市鉑思特機械制造有限公司】自行對信息/圖片/參數等的真實性、準確性和合法性負責,本平臺(本網站)僅提供展示服務,請謹慎交易,因交易而產生的法律關系及法律糾紛由您自行協商解決,本平臺(本網站)對此不承擔任何責任。您在本網頁可以瀏覽【鞏義鉑思特錫礦石的選礦工藝,錫礦選礦細篩設備,錫尾礦回收錫_礦業設備_鞏義市鉑思特機械制造有限公司】有關的信息/圖片/價格等及提供【鞏義鉑思特錫礦石的選礦工藝,錫礦選礦細篩設備,錫尾礦回收錫_礦業設備_鞏義市鉑思特機械制造有限公司】的商家公司簡介、聯系方式等信息。
在您的合法權益受到侵害時,歡迎您向郵箱發送郵件,或者進入《網站意見反饋》了解投訴處理流程,我們將竭誠為您服務,感謝您對B2B商機網|嬌嬌科技-免費b2b網站-免費的供求信息發布平臺的關注與支持!


(c)2020-2099 B2B商機網|免費b2b網站 www.www61175.com All Rights Reserved
服務熱線: ICP備案號:蜀ICP備20003444號-2